| Availability: | |
|---|---|
| Quantity: | |
QUZ73-10G
customized or without brand
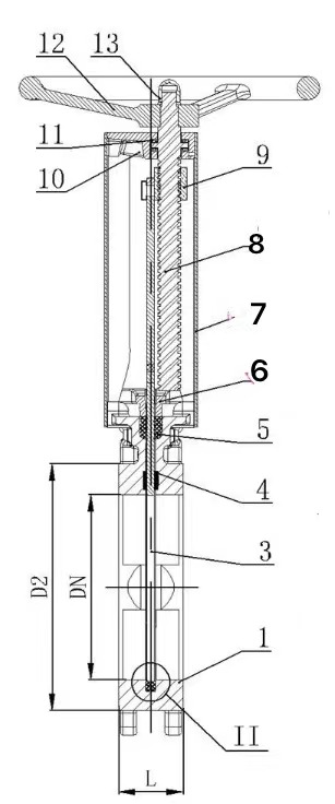
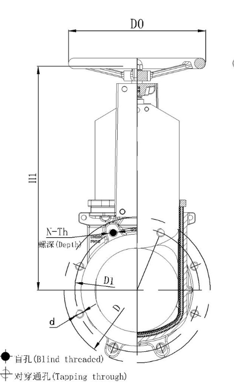
| NO. | Part Name | Material | NO. | Part Name | Material |
| 1 | Body | GGG40 | 8 | Stem | 2cr13 |
| 2 | Sealing Ring | EPDM | 9 | Nut | brass |
| 3 | Disc | SS304 | 10 | Yoke Head | ht200 |
| 4 | Guide Pad | PTFE | 11 | Bearings | GCR15 |
| 5 | Packing | PTFE/EPDM | 12 | Handwheel | GGG40 |
| 6 | Packing Gland | WCB | 13 | Cap | Q235 |
| 7 | Yoke | Q235 | Bolts/Nuts | Fe+Zn |
| NO. | Part Name | Material | NO. | Part Name | Material |
| 1 | Body | GGG40 | 8 | Stem | 2cr13 |
| 2 | Sealing Ring | EPDM | 9 | Nut | brass |
| 3 | Disc | SS304 | 10 | Yoke Head | ht200 |
| 4 | Guide Pad | PTFE | 11 | Bearings | GCR15 |
| 5 | Packing | PTFE/EPDM | 12 | Handwheel | GGG40 |
| 6 | Packing Gland | WCB | 13 | Cap | Q235 |
| 7 | Yoke | Q235 | Bolts/Nuts | Fe+Zn |
: +86-158-5327-1786
: info@cyunionvalve.com
: RM518,RuiHua Building,
NO.55,Bangkok Road,China
(ShanDong)Pilot Free Trade
Zone QingDao Area
